欢迎来到江西金石宝机械设备有限公司网站 !

Product Show

对辊破碎机


产品特点


1.结构紧凑,性能稳定,


2.安装简易,使用维护方便,


3.破碎产品粒度均匀,过粉过碎小,产品粒度细(可以破碎至3mm以下)。

 


一、概述


   对辊式破碎机简称对辊破或对辊破碎机,是比较老式的破碎设备,制造工艺更加成熟化。该设备结构简单,过粉碎现象少,辊面上的齿形、尺寸、排列可随物料性质而改变,可对中硬和软矿石进行中、细破碎,如硫酸厂中通常用对辊式破碎机对硫铁矿石进行一次破碎,使直径达到20~30mm,再进入双辊式破碎机进行二次破碎,使矿石直径达到5mm以下,达到沸腾炉的要求。

   对辊破碎机可供选矿、化工、水泥、耐火材料、磨料、建筑材料等工业部门中细碎各种高、中等硬度的矿石和岩石之用,尤其在建筑材料工业中生产瓜米石和绿豆砂等产品,有较一般破碎机械更好的效果。


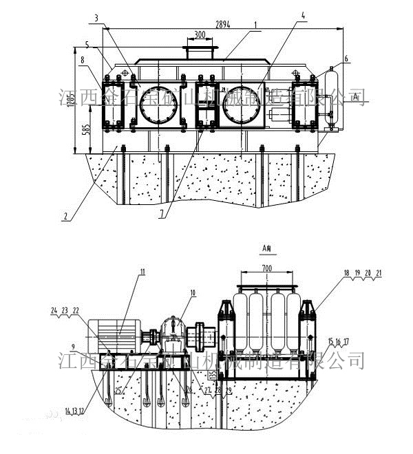
二、结构


对辊式破碎机主要由辊轮、辊轮支撑轴承、压紧和调节装置以及驱动装置等部分组成。



1、出料调节装置:两辊轮之间装有楔形或垫片调节装置。

a、楔形装置的顶端装有调整螺栓,当调整螺栓将楔块向上拉起时,楔块将活动辊轮顶离固定轮,即两辊轮间隙变大,出料粒度变大,当楔块向下时,活动辊轮在压紧弹簧的作用下两轮间隙变小,出料粒度变小。

b、垫片装置是通过增减垫片的数量或厚薄来调节出料粒度大小的,当增加垫片时两辊轮间隙变大,当减少垫片时两辊轮间隙变小,出料粒度变小。

2、驱动机构:是由两个电动机,通过三角皮带传动到槽轮上拖动辊轮,按照相对方向运动旋转。在破碎物料时,物料从进料口通过辊轮,经碾压而破碎,破碎后的成品从底架下面排出。

3、传动部分:为了安全根据实际情况自行安装安全罩。




三、工作原理

 

 

       将破碎物料经给料口落入两辊子之间,进行挤压破碎,成品物料自然落下。遇有过硬或不可破碎物时,其辊子可凭液压缸或弹簧的作用自动退让,使辊子间隙增大,过硬或不可破碎物落下,从而保护机器不受损坏。相向转动的两辊子有一定的间隙,改变间隙,即可控制产品排料粒度。



四、技术参数


规格型号

给矿粒度MM

出料粒度MM

产量T/H

电机功率KW

机重KG

2PG-400*250

25

2-8

5-10

11

1100

2PG-610*400

40

1-20

13-40

30

3500

2PG-750*500

40

2-20

20-55

37

12250

2PG-900*500

40

3-40

60-125

44

14000